
性能参数
|
使用说明
|
JM系列胶体磨使用说明
中成多功能胶体磨,简称:SS-JM系列胶体磨COLLOIDAL MILL(研磨机GRINDIND MACHINE )又名湿式超微粒粉碎机,湿式粉碎机、胶磨机、、磨均机、高剪切乳化研磨机、沥青胶体泵、混料泵。中成胶体磨制造历史悠久,品质超群、性能卓越,久享盛誉,深得海内外客商的青睐。尤其,近年以来经我厂技改部门通过高科技手段的革新,难题攻关,对传统胶体磨进行大幅度改造取得了突破性成果。连续获得国家专利七项,通过ISO9001-2000国际质量管理体系认证、产品执行中成企业标准Q/WSS01-2004和国家标准GB/T14466-2005(我企业参与修订),荣获“2000-2004年度国家质量检测合格证书”,“全国质量检验稳定合格产品”、“国家专利技术奖一等奖”、“国家科学技术成果进步奖二等奖”、中国食品与包装机械行业 “诚信单位”、“中国质检协会先进单位”等称号。中成胶体磨产品新型实用,外形新颖,环保节能,价格优惠,体积小,效益高等特点。让你的系统更可靠,更卫生,更静,更省电。
SS-JM系列胶体磨可根据用户的特殊要求提供多功能的可空转式运作,机封与介质绝无接触,机械密封使用寿更长的新一代卫生级可空转式胶体磨(中国专利)。以及研制了另一种封闭式胶体磨(中国专利)其全封闭式内循环回流系统,使物料在密闭的环境中进行多功能研磨、乳化、均质、粉碎、分散、搅拌、混合的加工。该机器封闭性能良好,防止挥发性、易燃性、易爆性、高卫生及可在真空条件要求下工作等特点,特别适用于:香精、香料、医药、药物、石油、化工、精细化工、生物制剂、植物蛋白、动物蛋白、啤酒、食品、炸药、高校,科研实验室等领域行业使用。从而达到防爆防燃、防止加工物料有效成份的挥发或刺激工作环境和确保物料的品质纯正。可以使加工的物料有效得到多循环的处理而达到理想的效果,封闭式胶体磨还配备了多项功能装置亦可使调节盘灵活地调节机器的间距乳化细度和预防膨胀、平衡容器内部的压力、机器可以缺料空转等多种功能。因此,其特点全封闭性能好,防火防爆,防泄漏、可空转、操作方便,卫生环保,节能高效和使用寿命长,是更先进的胶体磨。
SS-JM系列胶体磨可干湿两用粉碎机器,主要以多功能湿式处理流体超微粒粉碎、研磨、乳化、分散、均质、搅拌、混合等功能为主导产品,可代替并优于石磨,砂磨机、球磨机、乳匀机、剪切分散泵,均质乳化机、三辊机、组织捣碎机等工作效率。多功能胶体磨已形成五大系列“立式胶体磨系列、分体式胶体磨系列、卧式胶体磨系列、全封闭式胶体磨系列、可空转干湿两用胶体磨系列”百多种型号规格的胶体磨产品,给广大用户选购设备提供更大空间和余地,使设备资源得到更科学性、专业性和节能性的利用,成功应用于菠萝、芦荟、仙人掌等果汁、饼馅、涂料、生化、制药、啤酒、动植蛋白深加工、淀粉、胶粘剂、聚氨酯、陶瓷、沥青及新材料生产和研究等领域。特别是我们最新推出的小型胶体磨、特大胶体磨、封闭式胶体磨、可空转胶体磨系列等产品,国内首创,已被全国各地近千家企业及高等院校重点实验室、科研所的采用和实用性推广,并得到广大专家的好评,产品畅销国内外市场。
使用范围
食品工业:芦荟,椰子原汁、菠萝浆、乳化猪皮、鸡骨泥、辣椒酱、芝麻、果茶、冰淇淋、月饼馅(饼馅)、奶油、果酱、果汁、大豆、豆酱、豆沙、花生奶、蛋白奶、豆奶、乳制品,麦乳精、香精、调味品、啤酒、植物蛋白、动物蛋白及各种食品饮料等。
化学工业:油漆、颜料、染料、涂料、润滑油、合成脂、润滑脂、柴油、石油催化剂、乳化沥青、胶粘剂、洗涤剂、塑料、炸药、玻璃钢、合成革、皮革及********等。
日用化工:牙膏、洗涤剂、洗发精、鞋油、高级化妆品、沐浴精、肥皂及香脂等。
医药工业:各型糖浆、营养液、中成药、膏状药剂、生物制品、鱼肝油、花粉、蜂皇浆、疫苗、各种药膏、各种口服液、针剂及静滴液等。
建筑工业:各种涂料。包括内外墙涂料、防腐防水涂料、冷瓷涂料、多彩涂料、陶瓷釉料及喷涂等。
其它工业:塑料工业、纺织工业、造纸工业、煤炭浮选剂、稀土、纳米材料及军工等新材料领域。
工作原理
SS-JM系列胶体磨的基本工作原理是剪切、研磨及高速搅拌作用力,粉碎研磨依靠磨盘齿形斜面的相对运动而成,其中一个高速旋转,另一个静止使物料通过齿形斜面之间的物料受到极大的高速剪切力和摩擦力,同时又在高频震动和高速旋涡等复杂力的作用下使物料的研磨、乳化、粉碎、混合、分散和均质,从而得到精细超微粒粉碎的较高效益。
![]()
SS-JM系列胶体磨工作原理
设备构造
SS-JM 系列胶体磨系多项专利产品:具有设计紧凑、实用新型,外形美观、密封良好、性能稳定、操作方便、装修简单、经久耐用、适应范围广、生产效益高等特点、是处理精Υ细物料最理想的加工设备。
SS-JM 系列胶体磨产品除电机及部分零部件外,凡与物料相接触的零部件全部采用高强度不锈钢制成,尤其,关健的动、静磨盘进行强化处理因此,具有良好的耐腐性和耐磨性,使所加工的物料无污染卫生纯洁。也可按用户特殊要求可以另行定制。
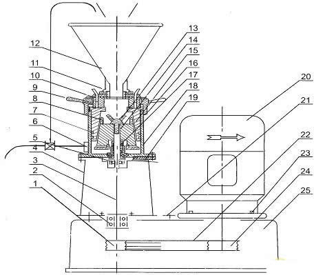
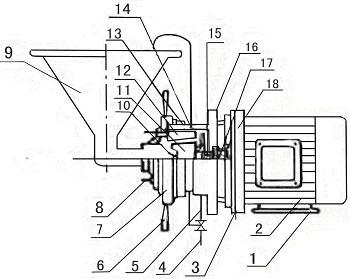
SS-JM 系列胶体磨其主要构造由磨头部件、底座传动部;专用电机三部分组成。其中机器核心部分的动磨盘与静磨盘、机械密封件组合部位系是本机的最关健部分。所以,根据被处理的物料性质不同选型必须有所区别。但材质均由不锈钢或特殊材料制造而成。电机根据型号不同需要作特殊设计,在电机凸缘端加装挡水盘,以防渗漏。立式胶体磨(又称连体式胶体磨)结构见图一、二,分体式胶体磨(傍连体式胶体磨)结构图三,卧式胶体磨结构图四、封闭式胶体磨(全封闭式结构)图五。
![]()
SS JM-L/LB
1.底座 2.电动机 3.壳体 4.主轴 5.机械密封组件 6.手柄 7.定位螺丝8.加料斗
9.进料通道 10.旋叶刀 11.调节盘 12.静磨盘 13.动磨盘 14.循环管
![]()
(5)SS JM-L/LB立式胶体磨系列结构 图二
1.底座 2.电动机 3.端盖 4.循环管 5.手柄 6.调节盘 7.冷却水管接头
8.加料斗 9.旋叶刀(动磨盘紧固螺纹) 10.动磨盘 11.定位螺钉 12.静磨盘
13.冷却通道 14.机械密封组件 15.壳体 16.主轴轴承 17.排漏管接头
![]()
SS JM-F/FB分体式胶体磨系列结构 图三
1.从动带轮 2.轴承 3.主轴 4.机座 5.轴承 6.出料口 7. O型密封圈 8.进料刮板
9.手柄10.压盖 11.活接 12.加料斗 13.旋叶刀 14.动磨盘 15.静磨盘 16.调节盘
17.机械密封组件 18.壳体 19.冷却水进出口及排泄孔20. 电动机 21.调节螺钉
22.三角皮带23.电动机座 24.主动带轮25.底座
![]()
SS JM-W/WB卧式胶体磨系列结构 图四
1.底座 2.电动机 3.排漏口 4.出料口 5.循环管 6.手柄 7.调节盘 8.冷却接头
9.加料斗 10.旋叶刀 11.动磨盘 12.静磨盘 13.刻度 14.O型圈 15.机械密封
16.壳体 17.滚球轴承 18.端盖
![]()
SS JM-FBF/LBF/WBF全封闭式胶体磨系列结构 图五
1. 进料口 2.循环管 3.冷却水管接头 4.旋叶刀 5.手柄 6.静磨盘 7. O型圈
8。出料口9.动磨盘10.主体机架 11.底座 12.端盖 13.壳体 14.主轴
15.料斗16.封闭盖 17.视镜
安装方式
JM 系列胶体磨运作平稳、震动轻微,可根据生产使用需要置于水平线平整地面上,或安装在水泥基础上。为了方便用户的生产使用,各型胶体磨的底层座均设有安装孔,立式胶体磨安装尺寸见图六、卧式胶体磨安装尺寸见图七。机器连接方式:采用漏斗(加料斗)式或管道连接式。
![]()
SS JM-L/LB立式胶体磨系列安装 图六
![]()
SS JM-W/WB(单机型)卧式胶体磨系列安装 图七
安装操作
1、联接好进料斗或进料管及出料口,再接上出料循环管,然后接通冷却水(JM-L
2、安装好电力启动装置,(若有条件的用户可配上电流表及指示灯或变频器等)接好电源后,特别要注意开机运转方向,判别电机是否正常方向旋转,或从进料管径处看方向是否同胶体磨上‘红色警示标志’旋转方向箭头相一致顺转。绝对禁止空转(腔内缺料液)和反转。
3、在胶体磨出厂时,设备出料口方块上已装有调好的限位螺丝,磨盘间隙处于最佳加工细度间距。调节磨盘间隙,先将出料口方块上限位螺丝松下,在不开机的情况下将调节盘(刻度盘)上两手柄‘逆时针’拧松,然后‘顺时针’转动调节盘,当转动调节盘感到有少许阻力时马上停止,此时调节盘上刻度对准体上指针的读数确定了动、静磨盘间隙为‘
4、接通冷却水后,注入1~
5、关机之前,进料斗内加入或腔内留有适量水液或其它与加工物料相关液体,并将湿料保持在经过循环管回流状态。开机时也要保持料斗内有一定量的湿料可回流状态并马上投入物料,否则会损伤硬质组合密封件甚至造成泄漏烧毁电机。
6、加工物料注意电机负荷,发现过载要减少投料。
7、胶体磨在动作中,绝不许关闭出料阀门,以免磨腔内压力过高而引起泄漏。
8、胶体磨属高精密机械,磨盘间隙极少,动转速度快。操作人员应严守岗位,按规章作业,发现故障及时停机,排除故障后再生产。
9、胶体磨使用后,应彻底消毒、清洗机体内部,勿使物料残留在体内,以免硬质机械粘结而损坏机器。
维护修理
1、胶体磨为高精密机械,线速高达
2、修理机器时,在拆开、装回调整过程中,绝不许用铁锺直接敲击。应用木锤或垫上木块轻轻敲击,以免损坏零部件。
3、本机密封件:分为静、动密封。静密封采用O型橡胶圈、动密封采用硬质机械组合式密封。发现硬质密封面有划伤应立即在平板玻璃或平板铸件上进行研磨修复,研磨料为≥200#碳化硅研磨膏为佳。若密封件破损或裂痕严重请立即更换。
4、在使用过程中应根据加工物料情况,酌情进行定期维护。
5、有关电机的维护使用,请参照电机使用说明书。
6、随机备件绝大部都为国标、部局标准件,全国各地均购到。
|








