
概述
最大压力承受范围:0-25MPa
驱动方式:电机驱动
控制方式:手动、自动控制
配置方式:泵头保温、冷却、电机可配防爆
2、精铸壳体,耐用,精密浇铸壳体,铸铜蜗轮及耐磨球轴承,润滑油润滑所有驱动零件。
3、易损部件全部经过特殊化处理,质量保证。
4、内部配置性能卓越的调节器总成,延长泵的使用寿命,并降低了噪音。
5、定量输出,在泵运行或停止时也可任意调节流量,精密度高可达正负百分之一。
6、吐出压力最高一款系列可达
7、适用于输送温度为 -30~
| 实际排出压力 | 0.2-1.0 | 1.3-4.0 | 5.0 -8.0 | 10.0 -16.0 |
| 阔开启压力% | 0.15P | 0.3P | 0.2P | 0.1P |
| 油类 | 使用期限 | 换油周期 |
| 润滑油 | 开始3-6个月 | 每3个月更换一次 |
| 润滑油 | 6个月以后 | 每6个月更换一次 |
| 液压油 | 开始2-5个月 | 每2个月更换一次 |
| 液压油 | 5个月以后 | 每5个月更换一次 |
| 故障 | 原因 | 排除方法 |
| 完全不排液 |
1.吸入高度太高
2.吸入管道阻塞
3.吸入管道漏气
|
1.降低安装高度可减少弯头阀门
2.清洗疏通吸入管道
3.压紧或更换法兰垫片
|
| 排液量不够 |
1.吸入管道局部阻塞
2.吸入或排出阔内有杂物卡阻
3.充油腔内有气体
4.充油腔内油量不足或过多
5.补偿阔或过载阔漏油
6.泵阀磨损,关闭不严
7.转数不足
|
1.清洗疏通吸管道
2.清洗吸排阔
3.人工补油使安全阔跳开排气
4.经补偿并作人工补油或排油
5.对阔进行研磨
6.修理或更换阔件
7..检査电机和频率
|
| 排出压力不稳定 |
1.吸入或排出阔内有杂物卡住
2.液压隔膜式限制板或排出管连接处漏油
3.过载阔或补偿阔动作失灵
|
1.清洗吸排阔
2.拧紧连接外螺钉
3.按安全阔补偿阔组的调试方法进行调整
|
| 计量精度不够 |
1.充油腔内有残余气体
2.过载阀或补偿动作失灵
3.柱塞密封漏液
4.液压隔膜式片发生永久性变形
5.吸入或排出阔磨损
6.电机转速不稳定
|
1.经较长时间运营后气体自然排净
2.补偿阔堵塞或过载阔弹簧折断,检査修正后按过载阔补偿阔组的调试方法进行调整
3.更换缸套与活塞环
4.更换液压隔膜式片
5.更换新件
6.稳定电源频率和电压
|
| 运转中有冲击声 |
1.传动零件松动或严重磨损
2.吸入高度过高
3.吸入管道漏气
4.液压隔膜式腔内油量多
5.介质中有空气
6.吸入管径太小
|
1.拧紧有关螺丝或更换新件
2.降低安装高度
3.压紧吸入法兰
4.轻压补偿作人工瞬时排油
5.排出介质中空气
6.增大吸入管径
|
| 输送介质油污染 | 1.液压隔膜式片破裂 | 1.更换新件 |
|
||||||||||||||||||||||||||||||||||||||||||||||||||||||||||||||||||||||||||||||||||||||||||||||||||||||||||||||||||||||||||||||||||||||||||||||||||||||||||||||||||||||
安装说明
安装图
结构原理
装配图

|
序号 |
零件名称 |
件数 |
|
序号 |
零件名称 |
件数 |
|
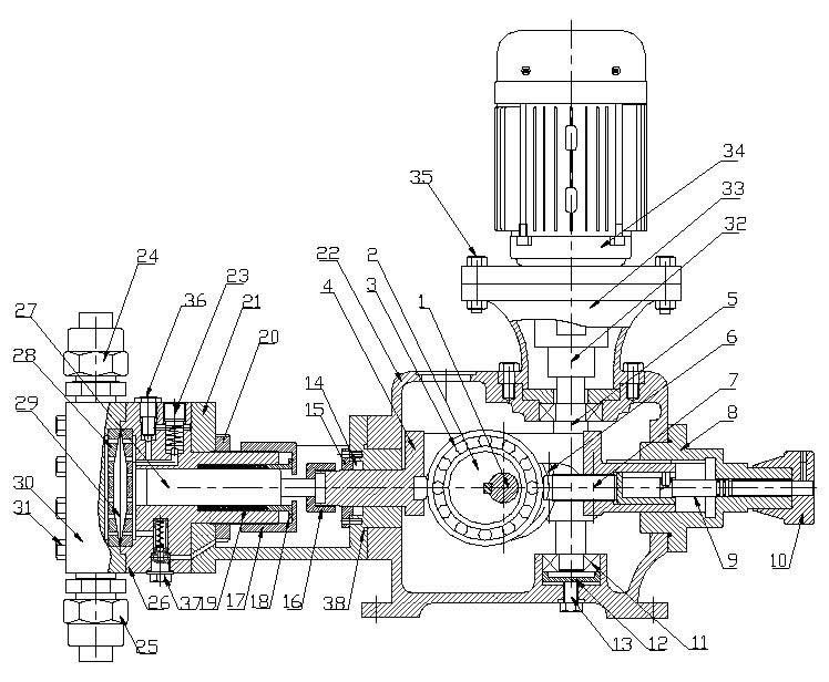
1 |
主轴 |
1 |
20 |
圆螺帽 |
1 |
|
|
2 |
偏心轮 |
1 |
21 |
泵头联接头 |
1 |
|
|
3 |
滚轮 |
1 |
22 |
泵体 |
1 |
|
|
4 |
连杆 |
1 |
23 |
过载阀 |
1 |
|
|
5 |
蜗杆 |
1 |
24 |
排水阀总成 |
1 |
|
|
6 |
蜗轮 |
1 |
25 |
进水阀总成 |
1 |
|
|
7 |
顶杆 |
1 |
26 |
泵头底座 |
1 |
|
|
8 |
调节器 |
1 |
27 |
柱塞 |
1 |
|
|
9 |
调节杆 |
1 |
28 |
膜片底座 |
1 |
|
|
10 |
手轮 |
1 |
29 |
膜片 |
1 |
|
|
11 |
轴承 |
1 |
30 |
泵头 |
1 |
|
|
12 |
调节底板 |
1 |
31 |
泵头螺栓 |
6 |
|
|
13 |
调节螺丝 |
1 |
32 |
传动接 |
1 |
|
|
14 |
油封 |
1 |
33 |
电机座 |
1 |
|
|
15 |
油封压板 |
1 |
34 |
电机 |
1 |
|
|
16 |
联接螺帽 |
1 |
35 |
螺栓 |
4 |
|
|
17 |
填料并帽 |
1 |
36 |
放气螺丝 |
1 |
|
|
18 |
填料压板 |
1 |
37 |
补油阀 |
1 |
|
|
19 |
填料 |
1组 |
38 |
密封圈 |
1 |


