
产品概述:
CHL,CHLK和CHLF(T)轻型卧式多级离心泵采用了免修机械密封。泵的过流部件均采用不锈钢材料(304或316)制成,具有低噪音,耐轻腐蚀,外形美观、体积小、重量轻、使用寿命长等特点。


应用范围:
CHL,CHLK和CHLF(T)型泵主要用于家庭型中央空调循环及工业上液体的传输。如脱矿物质水、软水、净化系统、轻油等的循环和增压。
1)小型中央空调循环
2)冷却系统
3)工业清洗
4)水处理(水的净化)
5)水产养殖
6)施肥/计量系统
7)环境应用
工作条件:
稀薄、干净、不凝、不爆炸、不含固体颗粒或纤维的液体。
液体温度: 常温型-15℃至+70℃
热水型+70℃至+110℃
最大环境温度:+40℃
最大运作压力:10巴
最大进口压力受最大运作压力限制
介质酸碱性:PH4~9
电机
电机为全封闭,风冷式二极电机
防护等级:IP55
绝缘等级:F
标准电压,
50Hz:
1×220-240V
3×220-240V
380-415V
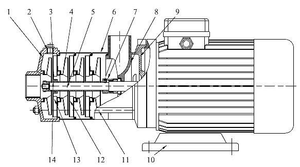
结构图

|
序号/NO. |
名称/Name |
材料/Material |
|
2 |
堵头/Gag |
不锈钢/Stainless steel |
|
3 |
轴承/Bearing |
碳化钨/Tungsten carbide |
|
4 |
叶轮/Impeller |
不锈钢/Stainless steel |
|
5 |
轴/Shaft |
不锈钢/Stainless steel |
|
6 |
出水导叶Water-out guide vane |
不锈钢/Stainless steel |
|
8 |
机械密封/Mechanical seal |
|
|
9 |
电机端盖/Motor end cover |
铝合金/Aluminum alloy |
|
10 |
底座/Base frame |
铸铁/Cast iron |
|
11 |
拉杆/Pull-rod |
不锈钢/Stainless steel |
|
12 |
导叶/Guide vane |
不锈钢/Stainless steel |
|
13 |
支撑导叶/Support guide vane |
不锈钢/Stainless steel |
|
14 |
叶轮隔套/Impeller separating sleeve |
不锈钢/Stainless steel |
|
CHLF |
||
|
1 |
进水体/Water-in body |
不锈钢/Stainless steel |
|
7 |
出水体/Water-out body |
不锈钢/Stainless steel |
|
CHLF(T) |
||
|
1 |
进水体/Water-in body |
铸铁/Cast iron |
|
7 |
出水体/Water-out body |
铸铁/Cast iron |
性能参数




性能曲线

结构图

安装尺寸




