|
型号
|
转速
(r/min)
|
流量
|
扬程
(m)
|
效率
(%)
|
功率(KW)
|
必需汽
(蚀余量
((m)
|
叶轮直径
(mm)
|
重量
(kg)
|
|
(m3/h)
|
(L/s)
|
轴功率
|
电机功率
|
|
IHF32-25-125
|
2900
|
3.5
5
6.5
|
0.97
1.39
1.80
|
21
20
18
|
40
44
42
|
0.50
0.62
0.76
|
1.5
|
2.3
|
128
|
80
|
|
1450
|
1.75
2.5
3.25
|
0.49
0.69
0.90
|
5.25
5
4.5
|
37
40
38
|
0.068
0.085
0.105
|
0.75
|
2.3
|
128
|
75
|
|
IHF32-25-125A
|
2900
|
3.1
4.5
5.8
|
0.06
1.25
1.61
|
17.6
16
14.4
|
38
41
40
|
0.70
0.48
0.57
|
1.1
|
2.3
|
115
|
75
|
|
IHF32-25-160
|
2900
|
3.5
5
6.5
|
0.97
1.39
1.80
|
33
32
30
|
34
40
42
|
0.93
1.10
1.26
|
2.2
|
2.3
|
162
|
90
|
|
1450
|
1.75
2.5
3.25
|
0.49
0.69
0.90
|
8.25
8
7.5
|
30
38
40
|
0.13l
0.143
0.166
|
0.75
|
2.3
|
162
|
75
|
|
IHF32-25-160A
|
2900
|
3.1
4.5
5.8
|
0.86
1.25
1.61
|
29
28
26
|
30
35
36
|
0.8l
0.97
1.14
|
1.5
|
2.3
|
152
|
80
|
|
IHF40-32-125
|
2900
|
4.4
6.5
8.3
|
1.22
1.80
2.31
|
21
20
18
|
40
45
43
|
0.63
0.79
0.95
|
2.2
|
2.5
|
128
|
90
|
|
1450
|
2.2
3.25
4.15
|
0.60
0.90
1.15
|
5.25
5
4.5
|
37
41
40
|
0.085
0.108
0.127
|
0.75
|
2.5
|
128
|
75
|
|
IHF40-32-125A
|
2900
|
3.9
5.6
7.4
|
1.08
1.56
2.06
|
17.6
16
14.4
|
38
42
40
|
0.49
0.58
0.72
|
1.5
|
2.5
|
115
|
80
|
|
IHF40-32-160
|
2900
|
4.4
6.5
8.3
|
1.22
1.80
2.31
|
33
32
30
|
34
40
39
|
1.16
1.42
1.71
|
2.2
|
2.5
|
162
|
90
|
|
1450
|
2.2
2.5
3.25
|
0.60
0.90
1.15
|
8.25
8
7.5
|
33
36
37
|
0.14
0.15
0.18
|
0.75
|
2.5
|
162
|
75
|
|
IHF40-32-160A
|
2900
|
3.9
5.6
7.4
|
1.08
1.56
2.06
|
29
28
26
|
32
38
37
|
0.96
1.23
1.41
|
1.5
|
2.5
|
152
|
80
|
|
IHF50-32-125
|
2900
|
8.8
12.5
16.3
|
1.08
1.56
2.06
|
21.5
20
17.5
|
45
54
53
|
1.15
1.26
1.47
|
2.2
|
3.0
|
128
|
90
|
|
1450
|
4.4
6.25
8.15
|
17
1.74
2.26
|
5.37
5
4.37
|
37
46
45
|
0.17
0.18
0.22
|
0.75
|
3.0
|
128
|
75
|
|
IHF50-32-125A
|
2900
|
8
11
14.5
|
2.22
3.05
4.03
|
17
16
14
|
42
52
51
|
0.88
0.92
1.08
|
1.5
|
3.0
|
115
|
80
|
|
IHF50-32-160
|
2900
|
8.8
12.5
16.3
|
2.44
3.47
4.53
|
33
32
30
|
41
48
47
|
1.93
2.27
2.84
|
4
|
3.0
|
160
|
120
|
|
1450
|
4.4
6.25
8.15
|
1.2
1.74
2.26
|
8.25
8
7.5
|
31
41
42
|
0.31
0.33
0.39
|
0.75
|
3.0
|
160
|
90
|
|
IHF50-32-160A
|
2900
|
8.2
11.7
15.2
|
2.28
3.25
4.22
|
29
28
26
|
39
47
46
|
1.16
1.88
2.34
|
3
|
3.0
|
150
|
l00
|
|
IHF50-32-200
|
2900
|
8.8
12.5
16.3
|
2.44
3.47
4.53
|
52
50
48
|
34
42
41
|
3.70
4.10
5.20
|
7.5
|
3.0
|
190
|
150
|
|
1450
|
4.4
6.25
8.15
|
1.2
1.74
2.26
|
13
12.5
12
|
25
33
36
|
0.62
0.65
0.74
|
1.5
|
3.0
|
190
|
100
|
|
型号
|
转速
(r/min)
|
流量
|
扬程
(m)
|
效率
(%)
|
功率(KW)
|
必需汽
(蚀余量
((m)
|
叶轮
直径
|
重量
(kg)
|
|
(m3/h)
|
(1/s)
|
轴功率
|
电机功率
|
|
IHF50-32-200A
|
2900
|
8.2
11.7
15.2
|
2.28
3.25
4.22
|
45
44
42
|
31
40
39
|
3.24
3.50
4.45
|
5.5
|
3.0
|
178
|
130
|
|
IHF50-32-250
|
2900
|
8.8
12.5
16.3
|
2.44
3.47
4.53
|
82
80
76
|
27
35
34
|
7.30
7.80
10
|
11
|
3.0
|
250
|
220
|
|
1450
|
4.4
6.25
8.15
|
1.2
1.74
2.26
|
20.5
20
19
|
20
27
30
|
1.22
1.26
1.40
|
2.2
|
3.0
|
250
|
100
|
|
IHF50-32-250A
|
2900
|
8.2
11.7
15.2
|
2.28
3.25
4.22
|
7l
70
68
|
25
34
33
|
4.53
6.56
8.52
|
7.5
|
3.0
|
235
|
170
|
|
IHF65-50-l25
|
2900
|
17.5
25
3
|
4.86
6.94
9.0
|
21.5
20
17.5
|
56
64
63
|
1.83
2.13
2.42
|
3
|
3.5
|
128
|
100
|
|
1450
|
8.75
12.5
16
|
2.43
3.47
4.44
|
5.37
5
4.37
|
45
57
58
|
0.28
0.30
0.33
|
0.75
|
3.5
|
128
|
80
|
|
IHF65-50-125A
|
2900
|
15.6
22.3
29
|
4.33
6.19
8.1
|
17
16
14
|
53
62
61
|
1.36
1.57
1.79
|
2.2
|
3.5
|
115
|
90
|
|
IHF65-50-160
|
2900
|
17.5
25
32
|
4.86
6.94
9.0
|
33
32
27.5
|
50
59
57
|
3.15
3.69
4.20
|
5.5
|
3.5
|
160
|
145
|
|
1450
|
8.75
12.5
16
|
2.43
3.47
4.44
|
8.25
8
6.87
|
40
53
51
|
0.49
0.51
0.59
|
1.1
|
3.5
|
160
|
90
|
|
IHF65-50-160A
|
2900
|
16.4
23.3
30.4
|
4.56
6.5
8.44
|
29
28
24
|
48
58
56
|
2.70
3.10
3.54
|
4
|
3.5
|
150
|
130
|
|
IHF65-40-200
|
2900
|
17.5
25
32
|
4.86
6.94
9.0
|
52
50
45.5
|
45
54
54
|
5.50
6.30
7.35
|
11
|
3.5
|
195
|
225
|
|
1450
|
8.75
12.5
16
|
2.43
3.47
4.44
|
13
12.5
11.4
|
36
46
47
|
0.86
0.93
1.05
|
1.5
|
3.5
|
195
|
100
|
|
IHF65-40-200A
|
2900
|
16.4
23.3
30.4
|
4.56
6.5
8.44
|
46
44
40
|
43
53
52
|
4.30
5.00
5.20
|
7.5
|
3.5
|
183
|
170
|
|
IHF65-40-250
|
2900
|
17.5
95
32
|
4.86
6.94
9.0
|
82
80
76
|
39
50
52
|
10.10
10.90
12.74
|
18.5
|
3.5
|
250
|
240
|
|
1450
|
8.75
12.5
16
|
2.43
3.47
4.44
|
20.5
20
19
|
32
42
44
|
1.52
1.62
1.88
|
3
|
3.5
|
250
|
130
|
|
IHF65-40-250A
|
2900
|
16.4
23.3
30.4
|
4.56
6.5
8.44
|
71
70
68
|
36
48
50r-
|
8.80
9.30
11.25
|
15
|
3.5
|
235
|
230
|
|
IHF80-65-125
|
2900
|
35
50
65
|
9.72
13.9
18.1
|
21.5
20
17
|
64
69
67
|
3.20
3.95
4.50
|
5.5
|
4.0
|
134
|
150
|
|
1450
|
17.5
25
32.5
|
4.86
6.9
9.0
|
5.37
5
4.25
|
54
64
62
|
0.47
0.53
0.6l
|
1.1
|
4.0
|
134
|
90
|
|
IHF80-65-125A
|
2900
|
31
45
58
|
8.6
12.5
16.1
|
17
16
14
|
62
68
67
|
2.30
2.88
3.30
|
4
|
4.0
|
120
|
130
|
|
IHF80-65-160
|
2900
|
35
50
65
|
9.72
13.9
18.1
|
33
32
27.5
|
60
68
67
|
5.24
6.41
7.27
|
11
|
4.0
|
165
|
220
|
|
型号
|
转速
(r/min)
|
流量
|
扬程
(m)
|
效率
(%)
|
功率(KW)
|
必需汽
(蚀余量
((m)
|
叶轮直
径(mm)
|
重量
(kg)
|
|
(m3/h)
|
(l/s)
|
轴功率
|
电机功率
|
|
IHF80-65-160
|
1450
|
17.5
25
32.5
|
4.86
6.9
9.0
|
8.25
8
6.88
|
50
62
61
|
0.78
0.88
1.00
|
1.5
|
4.0
|
165
|
100
|
|
IHF80-65-160A
|
2900
|
31
45
58
|
8.6
12.5
16.1
|
29
28
24
|
58
67
66
|
4.10
5.12
5.34
|
7.5
|
4.0
|
165
|
190
|
|
IHF80-50-200
|
2900
|
35
50
65
|
9.72
13.9
18.1
|
52
50
45.5
|
52
64
65
|
9.53
10.64
12.39
|
15
|
4.0
|
197
|
230
|
|
1450
|
17.5
25
32.5
|
4.86
6.9,
9.0
|
13
12.5
11.38
|
51
59
58
|
1.21
1.44
1.74
|
3
|
4.0
|
197
|
130
|
|
IHF80-50-200A
|
2900
|
31
45
58
|
8.6
12.5
16.1
|
46
44
40
|
50
63
62
|
7.35
8.56
10
|
11
|
4.0
|
185
|
220
|
|
IHF80-50-250
|
2900
|
35
50
65
|
9.72
13.9
18.1
|
82
80
72
|
40
50
51
|
19.40
21.80
25
|
30
|
4.0
|
248
|
400
|
|
1450
|
17.5
25
32.5
|
4.86
6.9
9.0
|
20.5
20
18
|
40
50
51
|
2.40
2.70
3.12
|
4
|
4.0
|
248
|
145
|
|
IHF80-50-250A
|
2900
|
31
45
58
|
8.6
12.5
16.1
|
71.5
70
63
|
39
50
51
|
15.40
17.60
19.90
|
22
|
4.0
|
232
|
310
|
|
IHF100-80-125
|
2900
|
70
100
130
|
19.4
27.8
36.1
|
23
20
14
|
70
75
65
|
6.26
7.26
7.63
|
11
|
5.0
|
136
|
220
|
|
1450
|
35
50
65
|
9.7
13.9
18.0
|
5.75
5
3.5
|
65
70
64
|
0.85
0.97
0.98
|
1.5
|
4.5
|
136
|
100
|
|
IHF100-80-125A
|
2900
|
62.6
89
116
|
17.4
24.7
32.2
|
18
16
11
|
68
73
65
|
4.50
5.30
5.74
|
7.5
|
5.0
|
122
|
200
|
|
IHF100-80-160
|
2900
|
70
100
130
|
19.4
27.8
36.1
|
34
32
24
|
68
74
65
|
9.53
11.78
13.03
|
15
|
5.0
|
170
|
230
|
|
1450
|
35
50
65
|
9.7
13.9
18.0
|
8.5
8
6.5
|
60
68
67
|
1.35
1.60
1.69
|
2.2
|
4.5
|
170
|
110
|
|
IHF100-80-160A
|
2900
|
65.4
93.5
121
|
18.2
26
33.6
|
32
28
21
|
66
73
65
|
8.60
9.30
10.6
|
11
|
5.0
|
159
|
220
|
|
IHF100-65-200
|
2900
|
70
100
130
|
19.4
27.8
36.1
|
52
50
42
|
64
72
71
|
15.50
18.91
20.94
|
30
|
5.0
|
210
|
400
|
|
1450
|
35
50
65
|
9.7
13.9
18.0
|
13
12.5
10.5
|
60
68
63
|
2.06
2.50
2.95
|
4
|
4.5
|
210
|
140
|
|
IHF100-65-200A
|
2900
|
65.4
93.5
121
|
18.2
26
33.6
|
46
44
37
|
63
71
70
|
13
15.02
17.40
|
22
|
5.0
|
197
|
310
|
|
IHF100-65-250
|
2900
|
70
100
130
|
19.4
27.8
36.1
|
87
80
68
|
62
69
68
|
26.60
31.60
35
|
45
|
4.0
|
255
|
450
|
|
1450
|
30
50
60
|
8.33
13.9
16.7
|
21.2
20
18.5
|
58
63
62
|
3.00
4.30
4.72
|
5.5
|
4.5
|
255
|
170
|
|
IHF100-65-250A
|
2900
|
65.4
93.5
121
|
16.2
26
33.6
|
76.5
70
59
|
60
68
67
|
20.25
26.2
28
|
37
|
4.5
|
238
|
410
|
|
型号
|
转速n=2900r/min
|
转速n=1450r/min
|
|
流量
|
扬程
|
电机功率
|
汽蚀余量(m)
|
效率
|
流量
|
扬程
|
电机功率
|
汽蚀余量(m)
|
效率
|
|
(m3/h)
|
(m)
|
(KW)
|
(%)
|
(m3/h)
|
(m)
|
(KW)
|
(%)
|
|
IHF125-80-125
|
160
|
20
|
22
|
5
|
62
|
80
|
5
|
4
|
5
|
58
|
|
IHF125-80-160
|
32
|
30
|
5
|
70
|
8
|
5.5
|
5
|
74
|
|
IHF125-100-200
|
200
|
50
|
55
|
5
|
65
|
100
|
12.5
|
11
|
5
|
57
|
|
IHF125-100-250
|
80
|
75
|
5
|
68
|
20
|
15
|
5
|
60
|
|
IHF125-100-280
|
100
|
90
|
5
|
73
|
25
|
15
|
5
|
62
|
|
IHF150-125-250
|
→
|
→
|
|
|
|
200
|
20
|
22
|
5
|
62
|
|
IHF150-125-315
|
→
|
→
|
|
|
|
32
|
37
|
5
|
71
|
|
IHF150-125-400
|
→
|
→
|
|
|
|
50
|
45/55
|
5.5
|
74
|
|
IHF200-150-250
|
→
|
→
|
|
|
|
400
|
20
|
45/55
|
5.5
|
68
|
|
IHF200-150-315
|
→
|
→
|
|
|
|
32
|
55/75
|
5.5
|
74
|
|
IHF200-150-400
|
→
|
→
|
|
|
|
50
|
90/110
|
5.5
|
7
|
性能曲线图

IHF氟塑料合金化工离心泵技术参数
流量:6.3~400m3/h
流量:6.3~400m3/h;
扬程:5~132m;
转速:2900、1450r/min;
功率:0.55~110KW;
进口直径:50~200mm;
高工作压力:1.6Mpa。
IHF氟塑料衬里离心泵型号意义

IHF氟塑料衬里离心泵结构图

|
序号
|
名称
|
材料
|
|
1
|
泵体
|
HT200
|
|
2
|
叶轮骨架
|
45#钢
|
|
3
|
叶轮
|
聚全氟乙丙烯
|
|
4
|
泵体衬里
|
聚全氟乙丙烯
|
|
5
|
泵盖衬里
|
聚全氟乙丙烯
|
|
6
|
泵盖
|
HT200
|
|
7
|
机封盖压
|
1Cr18Ni9Ti
|
|
8
|
静环
|
99.9%氧化铝陶瓷
|
|
9
|
动环
|
填充四氟乙烯
|
|
10
|
泵轴
|
3Cr13
|
|
11
|
轴承体
|
HT200
|
|
12
|
联轴器
|
HT200
|
IHF氟塑料衬里离心泵安装注意事项
1.泵的安装是否合理,对泵的正常运行与使用寿命有极其重要影响,故安装和校正必须仔细进行。
2.对照安装尺寸预埋好底脚螺栓,做好混凝土基础工作。
3.待基础水泥凝固后,将泵安装基础上,应用水平仪检查泵和电机轴的水平情况,如不水平,应用垫铁调正直至水平,调妥后拧紧底脚螺母。
4.检查泵的转动部件是否有卡住擦碰现象,应严格检查泵轴与电机的同轴度, 可用薄片调整使其同心,后用手转动联轴器,转动轻松均匀无擦碰现象则为正常。
5.泵的吸人和吐出管路应有各自的支架,不允许管路的重量直接由泵来承受, 以免把泵压坏。
6.泵的安装位置高于液面(在泵的吸程允许范围内)时,应在吸人管路端部安装上底阀,并在排出管路上设置灌液螺孔或阀门,供泵起动前灌液之用;泵的安装位置低于液面时,应在吸人管路上按装控制阀门和过滤装置, 以防止杂物吸人泵内,过滤面积应大于管路面积的3-4倍。
7.扬程高的泵在出口流量控制阀门的外端管路上还应安装逆止阀,以防止突然停机时的水锤破坏。
8.必须保证泵的安装高度符合泵的汽蚀余量,并考虑管路损失及介质温度。
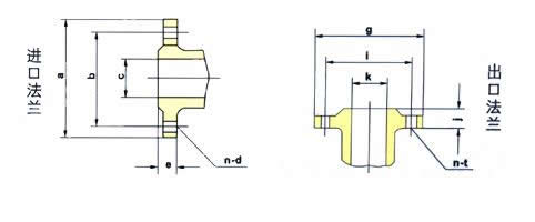
安装尺寸图

法兰尺寸图


安装示意图
拆装说明图




安装尺寸

|
型号
|
l
|
b
|
s
|
p
|
a
|
w
|
t
|
h
|
h
|
f
|
4-фd
|
|
IHF60-32-125 |
950
|
895
|
595
|
155
|
80
|
395
|
345
|
352
|
212
|
80
|
4-ф19
|
|
IHF50-32-160 |
1025
|
895
|
595
|
155
|
80
|
395
|
345
|
392
|
232
|
80
|
4-ф25
|
|
IHF50-32-200 |
1075
|
995
|
655
|
170
|
80
|
450
|
400
|
440
|
260
|
80
|
4-ф25
|
|
IHF65-50-125 |
995
|
895
|
595
|
155
|
80
|
395
|
345
|
352
|
212
|
80
|
4-ф25
|
|
IHF65-50-160 |
1075
|
998
|
655
|
170
|
80
|
450
|
400
|
392
|
232
|
80
|
4-ф25
|
|
IHF65-40-200 |
1240
|
1155
|
730
|
200
|
80
|
500
|
450
|
440
|
260
|
100
|
4-ф25
|
|
IHF65-40-250 |
1350
|
1270
|
840
|
215
|
100
|
490
|
440
|
510
|
285
|
100
|
4-ф24
|
|
IHF80-65-125 |
1095
|
995
|
655
|
170
|
80
|
450
|
400
|
392
|
232
|
100
|
4-ф25
|
|
IHF80-65-160 |
1240
|
1155
|
730
|
200
|
80
|
500
|
450
|
440
|
260
|
100
|
4-ф25
|
|
IHF80-50-200 |
1240
|
1155
|
730
|
200
|
80
|
500
|
450
|
460
|
260
|
100
|
4-ф25
|
|
IHF80-50-250 |
1543
|
1420
|
940
|
240
|
95
|
610
|
550
|
525
|
300
|
125
|
4-ф24
|
|
IHF100-80-125 |
1240
|
1140
|
740
|
200
|
95
|
490
|
440
|
440
|
260
|
100
|
4-ф24
|
|
IHF100-80-160 |
1355
|
1270
|
840
|
215
|
95
|
490
|
440
|
480
|
280
|
100
|
4-ф24
|
|
IHF100-65-200 |
1543
|
1420
|
940
|
240
|
95
|
610
|
540
|
525
|
300
|
100
|
4-ф24
|
|
IHF125-80-160 |
1543
|
1420
|
940
|
240
|
95
|
610
|
540
|
525
|
300
|
125
|
4-ф28
|
|
IHF125-100-200 |
1700
|
1620
|
1060
|
290
|
110
|
660
|
600
|
650
|
370
|
125
|
4-ф28
|

|
型 号
|
进口法兰尺寸
|
出口法兰尺寸
|
|
c
|
a
|
b
|
e
|
n-Фd
|
k
|
g
|
i
|
j
|
n-Фt
|
|
IHF50-32-125
|
50
|
165
|
125
|
20
|
4-Ф17.5
|
32
|
140
|
100
|
18
|
4-Ф17.5
|
|
IHF50-32-160
|
50
|
165
|
125
|
20
|
4-Ф17.5
|
32
|
140
|
100
|
18
|
4-Ф17.5
|
|
IHF50-32-200
|
50
|
165
|
125
|
20
|
4-Ф17.5
|
32
|
140
|
100
|
18
|
4-m16
|
|
IHF65-50-125
|
65
|
185
|
145
|
20
|
4-Ф17.5
|
50
|
165
|
125
|
20
|
4-Ф17.5
|
|
IHF65-50-160
|
65
|
185
|
145
|
20
|
4-Ф17.5
|
50
|
165
|
125
|
20
|
4-Ф17.5
|
|
IHF65-40-200
|
65
|
185
|
145
|
20
|
4-Ф17.5
|
40
|
150
|
110
|
18
|
4-m16
|
|
IHF65-40-250
|
65
|
185
|
145
|
20
|
4-Ф17.5
|
40
|
150
|
110
|
18
|
4-m16
|
|
IHF80-65-125
|
80
|
200
|
160
|
20
|
4-Ф17.5
|
65
|
185
|
145
|
20
|
4-Ф17.5
|
|
IHF80-65-160
|
80
|
200
|
160
|
20
|
4-Ф17.5
|
65
|
185
|
145
|
20
|
4-Ф17.5
|
|
IHF80-50-200
|
80
|
200
|
160
|
20
|
4-Ф17.5
|
50
|
165
|
125
|
20
|
4-m16
|
|
IHF80-50-250
|
80
|
200
|
160
|
20
|
4-Ф17.5
|
50
|
165
|
125
|
20
|
4-m16
|
|
IHF100-80-125
|
100
|
220
|
180
|
22
|
4-Ф17.5
|
80
|
200
|
165
|
20
|
8-m16
|
|
IHF100-80-160
|
100
|
220
|
180
|
22
|
4-Ф17.5
|
80
|
200
|
165
|
20
|
8-Ф17.5
|
|
IHF100-65-200
|
100
|
220
|
180
|
22
|
4-Ф17.5
|
65
|
185
|
145
|
20
|
4-Ф17.5
|
|
IHF125-80-160
|
125
|
250
|
210
|
22
|
4-Ф18
|
80
|
200
|
160
|
20
|
8-Ф17.5
|
|
IHF125-100-200
|
125
|
250
|
210
|
22
|
4-Ф18
|
100
|
220
|
180
|
20
|
8-Ф17.5
|
|